Double tube linear actuators
GN 491

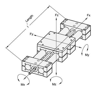
d GN 491 | Fx in N | Fy in N for length l = | Fz in N for length l = | Mx in Nm | My in Nm | Mz in Nm | ||||
|---|---|---|---|---|---|---|---|---|---|---|
| 500 | 1000 | 1500 | 500 | 1000 | 1500 | |||||
| 18 | 425 | 215 | 110 | - | 105 | 80 | - | 22 | 35 | 40 |
| 30 | 850 | 1100 | 900 | 550 | 600 | 350 | 150 | 100 | 100 | 100 |
| 40 | 1100 | 3700 | 2800 | 1400 | 2100 | 600 | 130 | 150 | 140 | 170 |
| 50 | 1900 | 3850 | 2400 | 2100 | 3100 | 700 | 200 | 180 | 220 | 290 |
| 60 | 2700 | 6900 | 2700 | 5100 | 6300 | 2800 | 360 | 320 | 350 | 500 |
GN 492

d GN 492 | Fx in N | Fy in N for length l = | Fz in N for length l = | Mx in Nm | My in Nm | Mz in Nm | ||||
|---|---|---|---|---|---|---|---|---|---|---|
| 500 | 1000 | 1500 | 500 | 1000 | 1500 | |||||
| 18 | 425 | 290 | 180 | - | 150 | 105 | - | 42 | 50 | 75 |
| 30 | 850 | 1500 | 1300 | 800 | 700 | 550 | 50 | 150 | 150 | 200 |
| 40 | 1100 | 6400 | 3400 | 1900 | 2400 | 750 | 230 | 180 | 210 | 260 |
| 50 | 1900 | 7500 | 5100 | 2700 | 3400 | 850 | 340 | 250 | 350 | 530 |
| 60 | 2700 | 11500 | 9500 | 8200 | 7500 | 3100 | 610 | 550 | 650 | 980 |
The specified forces Fy and Fz cause a flexure of the guide tube of approx. 0.5 mm.
DESCRIPTION
The slider is moved via a bearing-type trapezoidal thread spindle and a guide nut. The slider is guided through two parallel chrome-plated tubes, resulting in a high load capacity and allowing high bending moments to be compensated by the linear actuator.
For type GN 492, a second slider and an adapter plate extend the options for applications.
These double tube linear actuators have been designed for manual operation (handwheel). With the appropriate lubrication, they can also absorb rotary spindle speeds of as much as 250 rpm.
The positioning accuracy is 0.2 mm / 300 mm travel, the maximum reverse play is 0.1 mm.
To measure the adjustment or the positioning, digital position indicators DD52R / DD51 / DD52R-E / DD51-E may be attached. The required extension of the shaft journal is enabled by installation kits GN 491.1.
Further information see on the standard pages of GN 491 / GN 492.
DESCRIPTION
Double tube linear actuators
GN 491 / GN 492
with right or left hand thread, single shaft end or two shaft ends.

DESCRIPTION
Double tube linear actuators
GN 493 / GN 494
with right and left hand thread, single shaft end or two shaft ends, both sliders move symmetrically.
On request:
Double tube linear actuators
GN 493 / GN 494

DESCRIPTION
Double tube linear actuators
GN 495 / GN 496
with two separate spindles, each with right or left hand thread, both sliders move independently of each other.
On request:
Double tube linear actuators
GN 495 / GN 496.

-
Generals
-
1. Plastic materials
- 1.1 Mechanical strength
- 1.2 Thermal resistance
- 1.3 Strength and surface hardness
- 1.4 Resistance to chemical agents
- 1.5 Resistance to atmospheric agents and uv rays
- 1.6 Flame resistance
- 1.7 Electrical properties
- 1.8 Surface finish and cleanability
- 1.9 Compliance with international standards
- 1.10 Competence of Elesa+Ganter technical department
- 2. Metal materials
- 3. Other materials
- 4. Machining tolerances
- 5. Fixed handles
- 6. Assembly measures
- 7. Special executions
- 8. Colours
- 9. Test values
-
10. Technical tables
- 10.1 Conversion tables
- 10.2 DIN 79 Square holes and shafts
- 10.3 DIN 6885 Keyways
- 10.4 GN 110 and GN 110.1 Transversal holes
- 10.5 DIN 13 ISO Metric threads
- 10.6 DIN 228 Cylindrical GAS-BSP threads
- 10.7 DIN EN ISO 898-1 | DIN EN 20898-2 Strenght values
- 10.8 DIN ISO 286 ISO-Fundamental tolerances
- 10.9 IP Protection Classification
- 10.10.1 PFB | PRB Thread locking with jamming action Polyamide patch coating/ Polyamide complete coating
- 10.10.2 MVK Thread locking gluing Micro encapsulation precote 80 (red)
- 10.11 Stainless Steel characteristics
- 10.12 Surface treatments
- 10.13 Carbon steel, zinc alloys, aluminium, brass characteristics
- 10.14.1 Duroplast, elastomer, technopolymer and rubber characteristics
- 10.14.2 Duroplast, elastomer, technopolymer and rubber characteristics
- 10.14.3 Duroplast, elastomer, technopolymer and rubber characteristics
- 10.15 Load ratings U-Handles
- 10.16 Load ratings metal hinges
- 10.17 Strength of indexing plungers
- 10.18 Assembly sets GN 965 and GN 968
- 11. Vibration-damping elements
-
1. Plastic materials
- Hygienic design
- Operating Elements
- Clamping knobs
- Control elements
- Rotary controls
- Indexing elements
- Joints
- Transmission elements
- Levelling elements
- Hinges
- Latches
- Toggle, power and hook clamps
- Accessories for hydraulic systems
- Tube clamp connectors
- Castors and wheels
- Magnets
- Conveyor components
- Linear slides
- Vibration mounts
- Vacuum components
- Elastomer springs